Toggle main menu visibility
教育處首頁
處務公告
學校公告
教師甄試
問題蒐集
教學文件
處務公告權限設定SOP
在XOOPS上新增處務公告
新版處務公告使用流程介紹
:::
備用入口
備用入口
若之前登入後有進行OID的帳號綁定,那麼可以在下方,輸入綁定的帳號(xxx_hlc)及您設定的密碼來登入。
帳號
密碼
登入
重取設定
:::
日期從
~
止
關鍵字
搜尋
73694
【重要通知】今日請各位主任巡視校園後,回報校安中心貴校有無災損,無災損
今日請各位主任巡視校園後,回報校安中心貴校有無災損,無災損也要回報喔感謝大家!
*若有災損, 再從校安即時通【首報】完成財損資料填寫。
1) 未填報災損情形的高中學校清單
2) 未填報災損情形的國小學校清單
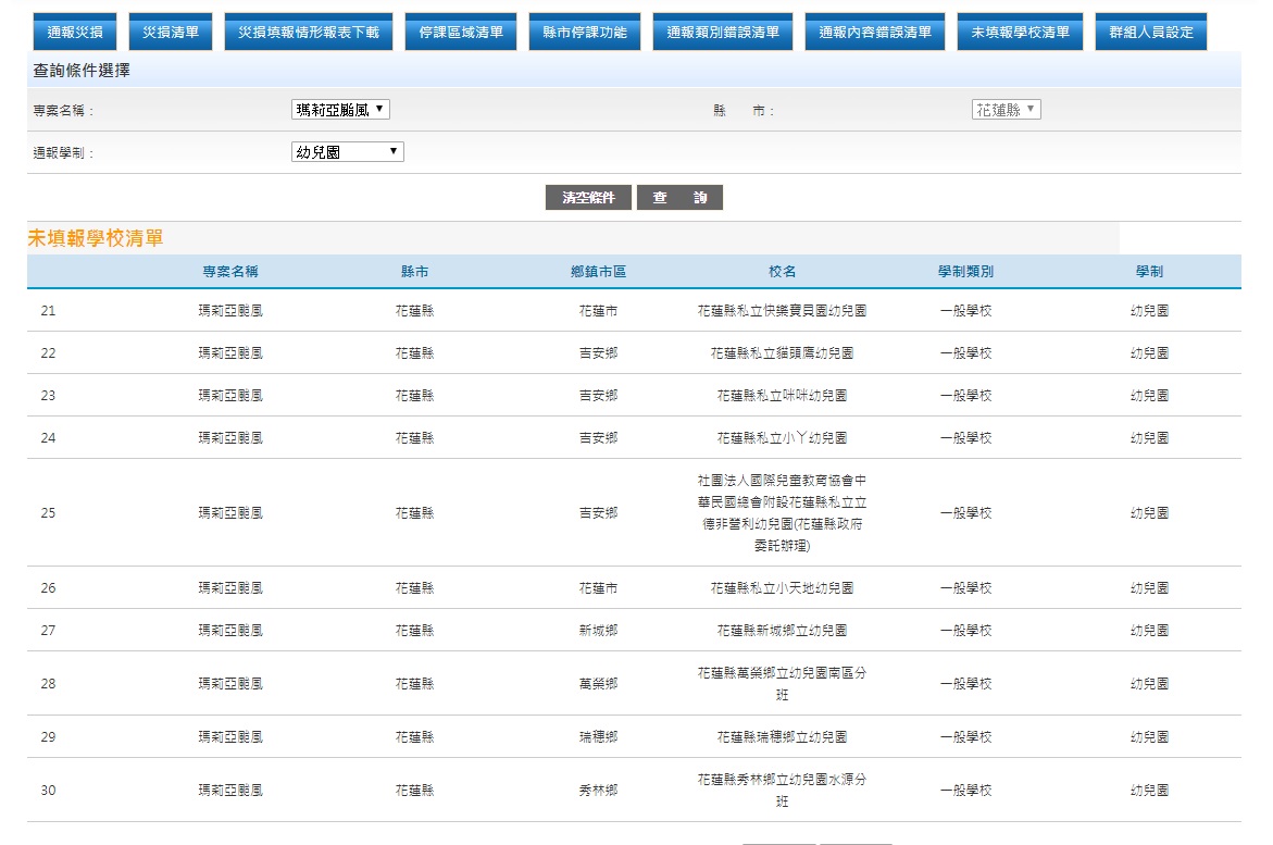
3) 未填報災損情形的幼兒園清單3
4) 未填報災損情形的國中學校清單1
5) 無災損的填報如下所示
6) 未填報災損情形的幼兒園清單1
7) 未填報災損情形的幼兒園清單2
8) 未填報災損情形的高職學校清單
9) 未填報災損情形的大專學校清單
10) 未填報災損情形的幼兒園清單4
11) 未填報災損情形的國中學校清單2
主辦單位:
本府教育處>
承辦單位:
教育設施科
發布者:
鄒瑋蓉
連絡電話:
03-8462860#305
公告時間:
2018-07-10 16:00:00
最後修改:
2018-07-11 08:56:00
點閱數:
402
友善列印